山海推出國際先進水平24位精密AFE,助力解決工業“卡脖子”問題
2023-02-24
山海半導體(SENSILICON)推出全新
24位?-Δ型低功耗、低噪聲、完整模擬前端SHC6248,該模擬前端不僅實現了超高精度的模擬性能,同時集成了完整的模擬鏈路模塊,包括12通道模擬開關、低噪聲PGA、低溫漂基準源、高匹配度IDAC及高精密?-Δ型ADC。SHC6248具有極高的初始精度,可有效解決用戶在實現超高精度和系統校準過程中的難題,同時有效簡化外圍電路,減小PCB尺寸并節約成本。
SHC6248完全自主設計研發,擁有100%知識產權,同時性能和集成度達到國際先進水平,可廣泛應用于工廠自動化及過程控制等應用中的溫度、壓力、流量測量,以及各類精密儀器設備中的電壓、電流測量。
SHC6248應用市場和產品特點

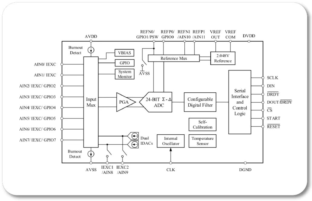
SHC6248功能框圖
SHC6248產品優勢
SHC6248 典型應用
(1) 熱電偶和RTD(電阻溫度檢測器)
熱電偶具有極高的溫度測量范圍(如2300℃)且響應速度快,RTD具有更高的溫度測量精度和穩定性,所以熱電偶和RTD(電阻溫度檢測器)是工業應用中常用的溫度傳感器。SHC6248以其高精度、高集成度的產品架構,可單芯片支持熱電偶溫度測量及RTD或NTC等冷端補償方式,也可單獨用于任意類型RTD(二線制、三線制或四線制)。下圖為基于SHC6248的典型熱電偶(三線制RTD作為冷端補償)的測量示意圖。
熱電偶和三線RTD測量
(2) 電橋類傳感器測量(壓力、流量等)
基于惠斯通電橋原理的壓力測量電路被廣泛應用于工業過程控制、流量控制、液壓閥門控制等領域,SHC6248可單芯片支持靜壓、差壓、溫度等多參量測量。下圖為基于SHC6248的典型電橋類壓力測量示意圖。
壓力或流量測量

關于山海
山海半導體是中國精密信號鏈賽道的開拓者,聚焦“工業與新能源市場”精密信號鏈芯片解決方案,堅持做有價值的產品,致力于解決國家 “卡脖子”問題。歡迎志同道合的你加入我們。
簡歷投遞:
[email protected]